タムロン 新レンズの特許
大口径標準ズームの特許
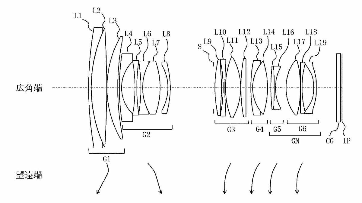
タムロンが新レンズの特許を出願していることが明らかになりました。
上記は特許に記載されているレンズの仕様で、同じような仕様を重複として省略したものです。まとめると以下のようなレンズの特許になります。
- 28-70mm f/2.0
- 28-60mm f/2.0(28-65mm?)
この特許は簡単にいうと、 「大口径(F2.0前後)ながら、小型で、高速AFに適した標準域のズームレンズ」 を実現するための光学系について述べたものです。特許を読むと、バックフォーカスが短いためミラーレスカメラ用のレンズで、像高からフルサイズ用のレンズであることがわかります。
また、フォーカス群を小さく軽量化することで、高速なAFに対応し、レンズ重量の軽量化にも寄与しているようです。そのため高性能ながら比較的全長の短いカメラ、かつオートフォーカス速度を速めながら、全域で高画質を実現しようとしていることがわかります。
シグマやソニーもf/2.8より明るいズームを提供しようとしていますが、タムロンもそれに追従するような形になるのでしょうか?廉価なレンズを製造するのが得意なタムロンだけに低価格でf/2.0通しの標準ズームがでてくると嬉しいですね。
タムロン 関連情報アーカイブ !
タムロン 最新情報
特許 最新情報
現在噂されている新製品情報
現在噂されている製品のリスト
ニコン
| カメラ | |
| 認証を受けた新カメラ | 数か月以内(2026年4月時点) |
| Nikon ZR新ファーム | 間もなく(2026年4月時点) |
| Nikon Z8II | 2026年末までに |
| Nikon Z9II | 2026年~2027年 |
| Nikon Z90 | 2026年~2027年 |
| 新製品の認証登録 |
| レンズ | |
| 新シネマレンズラインナップ | |
| 120-300mm f/2.8 | 2026年末までに |
| 85mm f/1.4 |
キヤノン
| カメラ | |
| EOS R6 V | 2026年5月 |
| レトロデザインEOS R8 Mark II | 2026年夏までに |
| EOS R7 Mark II | 2026年内の発売はない |
| EOS R3 Mark II | 2026年 |
| EOS R10 Mark II | 2026年内 |
| PowerShotフラッグシップ | 2026年 |
| レンズ | |
| RF24-70mm F2.8 L後継 | 2026年内 |
| RF300-600mm | 2026年5月 |
| RF-S15-70mm F4 | まもなく登場か(2026年4月時点) |
| RF20-50mm F4 PZ | 2026年 |
| RF70-200mm F2.8 STM | 2026年 |
| RF400mm F2.8 L IS USM後継 | 2026年 |
| RF600mm F4 L IS USM後継 | 2026年 |
| RF150-600mm F5.6 L IS USM | 計画中? |
| フルサイズAFレンズをサードに解禁? | 2026年 |
ソニー
| カメラ | |
| 2台の認証カメラ(FX、RX100、ZV-E10??) | 数か月以内(2026年4月時点) |
| α6900 | 2026年内 |
| α7R VI | 2026年5月 |
富士フイルム
| カメラ | |
| X-H3 | 2027年 |
| X-T6 | 2026年後半 |
| X-Pro 新型機 | 2026年後半 |
| 1インチセンサーコンデジ | 2026年 |
| 1億画素のGFX | 2026年 |
OM SYSTEM
| カメラ | |
| PEN新製品 |
パナソニック
| カメラ | |
| 新レンズロードマップ公開 | |
| 新製品2台を認証登録 | 数カ月以内に登場か(2026年2月8日時点) |
| LUMIX S1H II | |
| LUMIX GX9後継 | |
| LX100III |
リコー・ペンタックス
| カメラ | |
| 一眼レフ |
シグマ
| レンズ | |
| f/1.2より明るい65mmレンズ | 2026年9月 |
| 15mm F1.4 DC DN | Contemporary | 2026年2月26日 |
| 35mm F1.4 DG II | ART |



コメント