キヤノン新レンズの特許
大口径単焦点レンズの特許
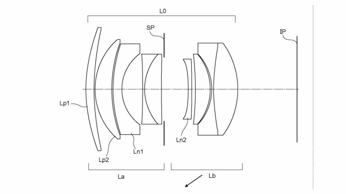
キヤノンが新レンズの特許を出願していることがわかりました。上記がレンズの実施例で、まとめると以下のような仕様のレンズということになります。
- 50mm f/1.2
- 35mm f/1.8
- 65mm f/1.8
特許の内容をみると、このレンズは小型化と高い光学性能の両立を実現するための特許としています。従来のダブルガウス型などのレンズ構成では、レンズが大きくなりやすいという課題に対して、特定のレンズの配置と、特定の材料のレンズを組み合わせることで、レンズの全長を短くし小型化を実現している特許のようです。
現在のRFマウントカメラをみると、上記のようなダブルガウスタイプの変形タイプの50mmレンズ、35mmレンズはないようですので、このレンズの特許はまったく新しいタイプの特許になるようです。
将来的にはこれらのレンズが現在のレンズと置き換わる形で登場する可能性があるのか気になりますね。
キヤノンの最新情報!
現在噂されている製品のリスト
ニコン
| カメラ | |
| Nikon Z9II | 2025年第4四半期 |
キヤノン
| カメラ | |
| EOS R7 Mark II | 2026年 |
| 1億画素フルサイズカメラ | 2025年 |
| レトロデザインカメラ | 2025年 |
| PowerShot V3 | 2025年後半 |
| レンズ | |
| RF20-50mm F4 PZ | 2025年11月下旬 |
| RF24-70 F2.8 L IS VCM(USM) | 2025年11月下旬 |
| RF300-600mm F5.6 L IS USM | 2025年11月下旬 |
| 見たことのないズームレンズ | 2025年年末頃 |
| RF-Sズーム 換算24-200mm一定絞り | 2025年 |
| RF-S単焦点 | 2025年 |
| RF400mm F2.8 L IS USM後継 | 2026年 |
| RF600mm F4 L IS USM後継 | 2026年 |
| RF14-28mm F2.8 L IS USM Z | 近い将来 |
| RF150-600mm F5.6 L IS USM | 計画中? |
| フルサイズAFレンズをサードに解禁? | 2026年 |
ソニー
| カメラ | |
| 3台の認証を受けたカメラ | |
| α7 V | 2025年11~12月 |
タムロン
| レンズ | |
| 25-200mm f/2.8-5.6 | 2025年秋 |


コメント
コメント一覧 (3件)
いつも思うけど、申請はいいけど認可された特許は紹介しないんだろうか?
このレンズ小さくていいですね。
最近まで明るいレンズは重厚長大なレンズばかりだったので
このような構成のレンズは高齢者(私のこと)には素晴らしい
贈り物です。
恐らく駆動系はリングUSMでしょう。
電磁波を出さず外乱の影響も受けないUSMはカメラレンズに
最適な駆動方法だと思います。
特許出願、経過情報、特許取得情報は特許情報プラットホームで
公開してるのでそこで見るしかないですね。
65mmなら見てみたい
50mmの1.3倍が65mm
65mmの1.3倍が85mm
倍率的に中間地点
バランス取れてる
65mmだと約3.3mから180×120cm、約1.6mから90×60cmに撮れる
撮影距離としては扱いやすい
但し3〜4万で売って欲しい