キヤノン 大口径広角レンズの特許
【課題】 高い光学性能を有し、広角且つ小型な光学系を提供すること。
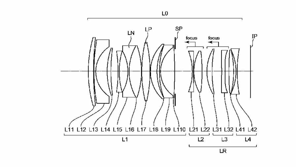
【解決手段】 物体側から像側へ順に配置された、前群、開口絞り、後群からなる光学系であって、前記前群は、負レンズLNを有し、所定の条件を満足する。
実施例(一部)
焦点距離 34.80
Fナンバー 1.24
半画角 31.87
像高 21.64
レンズ全長 135.00
焦点距離 24.72
Fナンバー 1.24
半画角 41.19
像高 21.64
レンズ全長 130.00
焦点距離 34.24
Fナンバー 1.85
半画角 32.29
像高 21.64
レンズ全長 100.00
焦点距離 24.72
Fナンバー 1.85
半画角 41.19
像高 21.64
レンズ全長 110.00
小型軽量化を目指した広角レンズの特許か
キヤノンが新レンズの特許を出願していることが明らかになりました。いくつかの実施例があるのですが、同じような仕様の実施例を省略すると、だいたい上記のようなレンズになります。まとめると以下のようになります。
- 35mm f/1.2
- 24mm f/1.2
- 35mm f/1.8
- 24mm f/1.8
それでは具体的にどのような特許なのか見ていきましょう(当サイトの解釈です)。
この特許を読んでいくと、広角なのに小型で高画質な単焦点レンズを実現することを強く意識しているようです。従来の広角レンズでは、どうしても歪曲収差や倍率色収差、周辺部の像の流れなどが問題になりやすく、それらを抑えつつサイズを抑えることが課題だったようです。
特許からは、レンズ配置と硝材の組み合わせを工夫することで、歪曲収差や軸上色収差、倍率色収差をバランスよく補正しながら、レンズ全体をコンパクトにまとめようとしている意図が読み取れます。
One Point!:歪曲収差って?
広角レンズで出やすい“直線が曲がって写る”収差だよ。 樽型にふくらんだり、糸巻き型にすぼんだりしてしまうんだけど、レンズ配置や硝材の組み合わせである程度コントロールできるんだ。
また、ピント合わせのために動かすレンズを小さくできる構成が採られているようで、高速AFや動画撮影時の滑らかなフォーカス動作にも向いた設計だと考えられます。周辺光量の低下や像面湾曲についても、複数の実施例で補正状態が示されており、画面周辺まで安定した描写を目指していることがうかがえます。
One Point!:軸上色収差・倍率色収差って?
色ごとにピント位置がズレる現象のことで、
・軸上色収差=前後方向にズレる
・倍率色収差=画面の端で色がにじむ
という違いがあるよ。
まとめると、明るい広角単焦点レンズを、できるだけ小型軽量にまとめながら、歪曲収差や色収差、周辺画質の低下をしっかり抑えたいということを狙った特許ということになりそうですね。
One Point!:広角単焦点で小型化が難しい理由って?
広角は光を大きく曲げる必要があるから、どうしてもレンズ枚数が増えたり、前玉が大きくなりやすいんだ。 そのうえ明るいF1.2クラスになると、さらに大型化しやすい。
f/1.2のレンズというとRF45mm f/1.2のようなレンズを思い浮かべますが、特許の内容をみると高価格帯のレンズとなりそうな印象です。廉価なレンズとして登場するといいなと思いますね。
さらにキヤノンの新レンズの噂を「キヤノン 年内に4本の本格的プロレンズを発売との噂 300mm f/2.8登場する!?」で詳しくお伝えします。
キヤノン 関連情報アーカイブ !
特許関連 最新情報
現在噂されている新製品情報
ニコン
| カメラ | |
| Nikon Z9II | 2026年~2027年 |
| Nikon Z90 | 2026年~2027年 |
| レンズ | |
| Z 70-200mm f/2.8 VR S II | 間もなく(25年11月6日時点) |
| 新シネマレンズラインナップ | |
| 120-300mm f/2.8 | 2026年末までに |
| 85mm f/1.4 |
キヤノン
| カメラ | |
| EOS R7 Mark II | 2026年 |
| EOS R3 Mark II | 2026年 |
| EOS R10 Mark II | 2026年内 |
| レトロデザインカメラ | 2026年 |
| EOS R1、R5 Mark II 新ファーム | 2026年 |
| レンズ | |
| RF300-600mm | |
| RF20-50mm F4 PZ | 2026年 |
| RF70-200mm F2.8 STM | 2026年 |
| RF400mm F2.8 L IS USM後継 | 2026年 |
| RF600mm F4 L IS USM後継 | 2026年 |
| RF150-600mm F5.6 L IS USM | 計画中? |
| フルサイズAFレンズをサードに解禁? | 2026年 |
ソニー
| カメラ | |
| α7R VI | 2026年5月~6月 |
富士フイルム
| カメラ | |
| X-T6 | 2026年後半 |
| X-Pro 新型機 | 2026年後半 |
| 1インチセンサーコンデジ | 2026年 |
| 1億画素のGFX | 2026年 |
パナソニック
| カメラ | |
| 新製品2台を認証登録 | 数カ月以内に登場か(2026年2月8日時点) |
| LUMIX S1H II | 2026年3月中旬までに |
シグマ
| レンズ | |
| 15mm F1.4 DC DN | Contemporary | 2026年2月26日 |
| 35mm F1.4 DG II | ART |




コメント