ニコン 新レンズの特許
【課題】 軽量かつ小型で良好な光学性能を有する光学系を提供する。
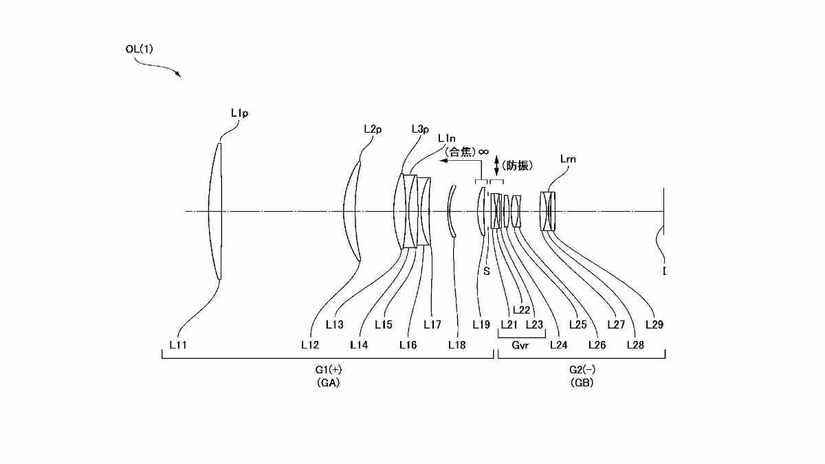
【解決手段】 光学系OLは、光軸に沿って物体側から順に並んだ、前群GAと、絞りSと、後群GBとからなり、前群GAは、物体側から順に並んだ、第1正レンズL1pと、第2正レンズL2pと、第3正レンズL3pと、第1負レンズL1nとを有し、第1正レンズL1pおよび第2正レンズL2pは、いずれも単レンズで構成され、以下の条件式を満足する。
2.50<TL/d1<15.00
但し、TL:光学系OLの最も物体側のレンズ面から像面までの光軸上の距離
d1:第1正レンズL1pにおける像面側のレンズ面から第2正レンズL2pにおける物体側のレンズ面までの光軸上の距離
実施例(一部)
f=497.01
FNO=4.12
2ω=2.45
Y=21.63
TL=410.000
BF=97.938
望遠単焦点レンズの特許か
ニコンが新レンズの特許を出願していることが明らかになりました。上記が実施例の一部で、製品としては500mm F4レンズの特許ということになるようです。それでは具体的にどのような特許なのか見ていきましょう(当サイトの解釈です)。
この特許を読んでいくと、どうやら500mm F4クラスの超望遠レンズを、できるだけ小型軽量に仕上げることを強く意識して設計しているようです。実施例はすべて500mm前後・F4クラスに集中していて、プロ向け超望遠単焦点を明確にターゲットにしていることがうかがえます。
構成としては、前方に複数の正レンズをまとめ、その中に1枚だけ負レンズを組み込むことで、従来よりもレンズ径を抑えつつ、色収差も効率よく補正できるようにしているようです。さらに後段には補正用のレンズ群が配置され、ここに光軸と直交方向へ動く手ぶれ補正を組み込みやすい構造になっていると読み取れます。つまり、超望遠ながら光学式手ぶれ補正を前提とした設計思想のようです。
One Point!:光学式手ぶれ補正(VR)って?
レンズ内部の補正レンズ群を“光軸と直交方向”に動かして、手の揺れを打ち消す仕組みだよ。 特に500mm F4みたいな超望遠では、わずかなブレでも大きく像が動くから、VRユニットを組み込みやすい構造はすごく重要なんだ。
フォーカス方式についても、前群の一部だけを動かす構造が想定されており、レンズ全体を動かす必要がないため、AFの高速化や駆動系の軽量化にもつながる設計になっているように見えます。高速AFを意識した構成だと感じられますね。
One Point!:前群フォーカスって?
レンズ全体ではなく“前側の一部のレンズ群だけ”を動かしてピントを合わせる方式だよ。 動かすレンズが軽くなるから、AFが速くて静かになりやすいし、駆動系も小型化できるんだ。 超望遠レンズで高速AFを実現するための定番の設計なんだよ!
また、位相フレネルレンズや回折光学素子のような特殊レンズは使わず、あくまで通常の屈折レンズの組み合わせだけで軽量化と高画質を両立しようとしている点も特徴的です。そのぶん設計の工夫によって、色収差を抑えながら全長を短くし軽量化しようとしているようです。
ニコンから500mm F4レンズが登場する日も近いかもしれません。
さらにニコンの新レンズの画像が流出したことについて「NIKKOR Z 120-300 f/2.8 TC VR S 製品画像流出 発売が確定的に」で詳しくお伝えします。
ニコン 関連情報アーカイブ !
ニコン 最新情報
現在噂されている新製品情報
ニコン
| カメラ | |
| Nikon Z9II | 2026年~2027年 |
| Nikon Z90 | 2026年~2027年 |
| レンズ | |
| Z 70-200mm f/2.8 VR S II | 間もなく(25年11月6日時点) |
| 新シネマレンズラインナップ | |
| 120-300mm f/2.8 | 2026年末までに |
| 85mm f/1.4 |
キヤノン
| カメラ | |
| EOS R7 Mark II | 2026年 |
| EOS R3 Mark II | 2026年 |
| EOS R10 Mark II | 2026年内 |
| レトロデザインカメラ | 2026年 |
| EOS R1、R5 Mark II 新ファーム | 2026年 |
| レンズ | |
| RF300-600mm | |
| RF20-50mm F4 PZ | 2026年 |
| RF70-200mm F2.8 STM | 2026年 |
| RF400mm F2.8 L IS USM後継 | 2026年 |
| RF600mm F4 L IS USM後継 | 2026年 |
| RF150-600mm F5.6 L IS USM | 計画中? |
| フルサイズAFレンズをサードに解禁? | 2026年 |
ソニー
| カメラ | |
| α7R VI | 2026年5月~6月 |
富士フイルム
| カメラ | |
| X-T6 | 2026年後半 |
| X-Pro 新型機 | 2026年後半 |
| 1インチセンサーコンデジ | 2026年 |
| 1億画素のGFX | 2026年 |
パナソニック
| カメラ | |
| 新製品2台を認証登録 | 数カ月以内に登場か(2026年2月8日時点) |
| LUMIX S1H II | 2026年3月中旬までに |
シグマ
| レンズ | |
| 15mm F1.4 DC DN | Contemporary | 2026年2月26日 |
| 35mm F1.4 DG II | ART |




コメント