キヤノン 単焦点レンズの特許
焦点距離 195.94
Fナンバー 2.06
半画角 6.30
像高 21.64
レンズ全長 217.02
BF 38.12
焦点距離 145.99
Fナンバー 1.44
半画角 8.43
像高 21.64
レンズ全長 205.08
BF 12.35
焦点距離 195.66
Fナンバー 1.85
半画角 6.31
像高 21.64
レンズ全長 233.03
BF 37.99
焦点距離 294.95
Fナンバー 2.06
半画角 4.20
像高 21.64
レンズ全長 330.02
BF 47.82
焦点距離 180.00
Fナンバー 1.85
半画角 6.85
像高 21.64
レンズ全長 206.35
BF 38.00
大口径望遠単焦点の特許
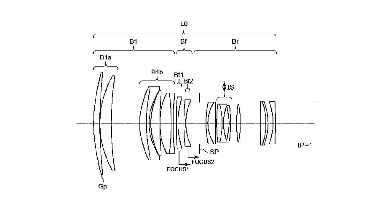
キヤノンが新レンズの特許を出願していることが明らかになりました。特許に記述されているレンズの実施例が上記で引用したものです。まとめると以下のような仕様のレンズになることがわかります。
- 200mm f/2
- 150mm f/1.4
- 200mm f/1.8
- 300mm f/2
- 180mm f/1.8
それぞれ単焦点レンズで、かつ大口径であることがわかります。また、像高からいずれもフルサイズ用のレンズとなっていることがわかります。
この特許が目指しているのは、高い描写性能を保ちつつ、全長を短く抑えた単焦点レンズの実現です。特に、ミラーレスカメラのような薄型デバイスに搭載することを想定しており、光学性能とコンパクトさの両立が大きなポイントになっています。
レンズ構成としては、複数のレンズを適切に配置し、球面収差や色収差、歪曲収差といった各種の収差をバランスよく補正しています。さらに、特定の屈折力やレンズ間の距離に関する条件式が設定されており、それを満たすことで、画面周辺までシャープでヌケの良い描写が得られるようになっているようですね。
もし発売されたら嬉しいですが、価格も非常に高いレンズになるかもしれません。
さらにEOS R3 Mark IIの噂を「EOS R3 Mark IIが本当に登場する可能性があるのか語ろう」で詳しくお伝えします。
キヤノン 関連情報アーカイブ !
キヤノン 最新情報
現在噂されている新製品情報
ニコン
| カメラ | |
| フルサイズコンデジ | |
| 認証を受けた新カメラ | 数か月以内(2026年4月時点) |
| Nikon ZR新ファーム | 間もなく(2026年4月時点) |
| Nikon Z8II | 2026年末までに |
| Nikon Z9II | 2026年~2027年 |
| Nikon Z90 | 2026年~2027年 |
| 新製品の認証登録 |
| レンズ | |
| 新シネマレンズラインナップ | |
| 120-300mm f/2.8 | 2026年末までに |
| 85mm f/1.4 |
キヤノン
| カメラ | |
| EOS R6 V | 2026年5月 |
| レトロデザインEOS R8 Mark II | 2026年夏までに |
| EOS R7 Mark II | 2026年内の発売はない |
| EOS R3 Mark II | 2026年 |
| EOS R10 Mark II | 2026年内 |
| PowerShotフラッグシップ | 2026年 |
| レンズ | |
| RF20-50mm F4 L IS USM PZ | 2026年5月 |
| RF24-70mm F2.8 L後継 | 2026年内 |
| RF300-600mm | 2026年5月 |
| RF-S15-70mm F4 | まもなく登場か(2026年4月時点) |
| RF70-200mm F2.8 STM | 2026年 |
| RF400mm F2.8 L IS USM後継 | 2026年 |
| RF600mm F4 L IS USM後継 | 2026年 |
| RF150-600mm F5.6 L IS USM | 計画中? |
| フルサイズAFレンズをサードに解禁? | 2026年 |
ソニー
| カメラ | |
| 2台の認証カメラ(FX、RX100、ZV-E10??) | 数か月以内(2026年4月時点) |
| α6900 | 2026年内 |
| α7R VI | 2026年5月 |
富士フイルム
| カメラ | |
| X-H3 | 2027年 |
| X-T6 | 2026年後半 |
| X-Pro 新型機 | 2026年後半 |
| 1インチセンサーコンデジ | 2026年 |
| 1億画素のGFX | 2026年 |
OM SYSTEM
| カメラ | |
| PEN新製品 |
パナソニック
| カメラ | |
| 新レンズロードマップ公開 | |
| 新製品2台を認証登録 | 数カ月以内に登場か(2026年2月8日時点) |
| LUMIX S1H II | |
| LUMIX GX9後継 | |
| LX100III |
リコー・ペンタックス
| カメラ | |
| 一眼レフ |
シグマ
| レンズ | |
| f/1.2より明るい65mmレンズ | 2026年9月 |
| 15mm F1.4 DC DN | Contemporary | 2026年2月26日 |
| 35mm F1.4 DG II | ART |


コメント