キヤノン イメージセンサーの新特許
概要
【課題】
寄生光感度(PLS)性能の悪化を伴わずハイダイナミックレンジ(HDR)と位相差検出を可能とする撮像素子、方法及びプログラムを提供する。
【背景技術】
CMOSイメージセンサーにおける電子シャッタ方式のうち、グローバル電子シャッタ(GS)方式は全画素で同時に露光を行うことができ、行毎に露光を行うローリングシャッタ方式で生じる動体歪みを生じさせずに撮影が可能である。
特許文献1では、入射光量に応じて生じる信号電荷を遮光膜で覆われた電荷保持部に転送して保持し、その後、行毎に読み出しを行うことで、GSを実現する構成が開示されている。
この方式においては、信号電荷の完全転送が可能であれば追加のノイズが伴う回路素子を導入せずにGSを実現できる一方、電荷保持部に光が漏れこむことで生じる寄生光感度(PLS)の影響により偽信号が生じることがある。
本発明の目的の1つは、PLS性能の悪化を伴わずに、HDRと位相差検出を可能とした撮像素子を提供することにある。
【発明が解決しようとする課題】
しかし、特許文献1~3に記載の技術では、例えば電荷保持部の遮光膜に夫々コンタクトを開口して制御線を配線する必要があるため、PLSが悪化する可能性がある。
本発明の目的の1つは、PLS性能の悪化を伴わずに、HDRと位相差検出を可能とした撮像素子を提供することにある。
グローバルシャッターセンサーの新特許か
キヤノンがイメージセンサーに関する新たな特許を出願していることが明らかになりました。グローバルシャッターを実現しつつ、さらに全画素で像面位相差実現し、縦方向と横方向の位相差センサーを混在する形で配置し、さらに画質の劣化を防止するという技術全部入りの特許となっているようですが、どのような特許なのか詳しく見ていきましょう(当サイトの解釈です)。
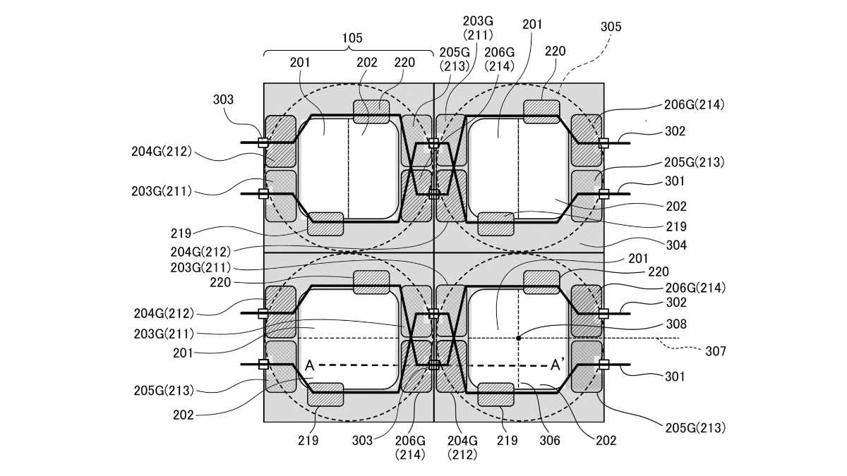
この特許は、グローバルシャッター、HDR撮影、そして像面位相差AFという三つの機能を、寄生光感度(PLS)を悪化させずに同時に実現するための新しい画素構造について説明しているようです。従来の方式では、HDR用の複数の電荷保持部や位相差AF用の分割フォトダイオードを画素内に配置すると、どうしても遮光膜に複数の開口を作る必要があり、そこから光が漏れ込んで偽信号が発生し、PLSが悪化するという問題がありました。
PLSとは、本来光を受けてはいけない電荷保持部に光が入り込むことで起きるノイズのことで、特にグローバルシャッター方式では画質に大きく影響してしまいます。
One Point!:PLS(寄生光感度)って?
PLSは、本来光を受けるべきでない電荷保持部に光が漏れ込んでしまい、偽信号やノイズが発生する現象のことだよ。 特にグローバルシャッターでは、全画素を同時に読み出すため、PLSの影響が画質に直結しやすいんだ。
この特許では、画素内に4つある電荷保持部を対角方向に分散して配置し、さらに隣り合う画素同士で同じ種類の電荷保持部が列方向で隣り合うように並べることで、制御線を共通化し、遮光膜の開口を1つにまとめられるようにしているようです。これによって、電荷保持部を受光部から遠ざけつつ、光漏れの経路を最小限に抑えることができ、PLSを悪化させずに複雑な画素機能を成立させることができるとしています。
One Point!:開口を1つにまとめる工夫って?
従来は複数の機能を画素に詰め込むと、遮光膜に複数の開口が必要になってPLSが悪化しやすかったんだ。 この特許では、電荷保持部の配置と制御線の共通化によって、開口を1つに集約し、 光漏れの経路を最小限に抑える工夫がされているよ。
One Point!:グローバルシャッターとPLSの関係って?
グローバルシャッターでは、各画素に電荷保持部を設けて一斉に信号を読み出す必要があるけど、 その保持部に光が入るとノイズが発生しやすくなるんだ。
また、このイメージセンサーでは全ての画素が2つのフォトダイオードを持つ構造になっていて、全画素が像面位相差AFに利用できる点も大きな特徴となっています。さらに、フォトダイオードの分割方向は画素ごとに異なり、水平方向に分割された画素と垂直方向に分割された画素が混在して配置されています。これにより、水平模様の被写体でも垂直模様の被写体でも、どちらの方向の位相差情報も得られるため、AF精度が落ちにくくなります。つまり、このセンサーは「全画素が位相差センサーであり、しかも縦方向・横方向の両方の位相差情報を網羅的に取得できる」という構造になっています。
One Point!:全画素像面位相差AFって?
全ての画素に2つのフォトダイオードを持たせることで、 画面全体で像面位相差AFが可能になる構造のことだよ。 これにより、画面のどこでも高速・高精度なAFができるようになるんだ。
こうした工夫によって、このイメージセンサーはPLSを抑えながら、グローバルシャッター、HDR、そして全画素像面位相差AFという三つの機能を同時に実現できるようになっています。高速撮影や高ダイナミックレンジ、そして高精度AFを同時に求められる現代の撮像装置にとって、とても実用性の高いアプローチのようですね。
One Point!:縦横分割の混在ってなにがいいの?
画素ごとに分割方向を変えることで、水平模様にも垂直模様にも強くなるんだ。 これにより、被写体の模様方向に関係なく、安定した位相差AFが可能になるよ。
このイメージセンサーが実現すれば、全画素のクロスセンサーではないですが、縦と横方向の位相差センサーを混在する形で配置し、しかも全画素に位相差センサーがあり、さらにグローバルシャッターで、画質も良いカメラが登場する可能性があり期待が高まりますね。
さらにEOS R7 Mark IIの噂を「EOS R7 Mark II 最も高速な読出し速度のセンサー採用との新情報」で詳しくお伝えします。
キヤノン 関連情報アーカイブ !
キヤノン 最新情報
現在噂されている新製品情報
ニコン
| カメラ | |
| フルサイズコンデジ | |
| 認証を受けた新カメラ | 数か月以内(2026年4月時点) |
| Nikon ZR新ファーム | 間もなく(2026年4月時点) |
| Nikon Z8II | 2026年末までに |
| Nikon Z9II | 2026年~2027年 |
| Nikon Z90 | 2026年~2027年 |
| 新製品の認証登録 |
| レンズ | |
| 新シネマレンズラインナップ | |
| 120-300mm f/2.8 | 2026年末までに |
| 85mm f/1.4 |
キヤノン
| カメラ | |
| EOS R6 V | 2026年5月 |
| レトロデザインEOS R8 Mark II | 2026年夏までに |
| EOS R7 Mark II | 2026年内の発売はない |
| EOS R3 Mark II | 2026年 |
| EOS R10 Mark II | 2026年内 |
| PowerShotフラッグシップ | 2026年 |
| レンズ | |
| RF20-50mm F4 L IS USM PZ | 2026年5月 |
| RF24-70mm F2.8 L後継 | 2026年内 |
| RF300-600mm | 2026年5月 |
| RF-S15-70mm F4 | まもなく登場か(2026年4月時点) |
| RF70-200mm F2.8 STM | 2026年 |
| RF400mm F2.8 L IS USM後継 | 2026年 |
| RF600mm F4 L IS USM後継 | 2026年 |
| RF150-600mm F5.6 L IS USM | 計画中? |
| フルサイズAFレンズをサードに解禁? | 2026年 |
ソニー
| カメラ | |
| 2台の認証カメラ(FX、RX100、ZV-E10??) | 数か月以内(2026年4月時点) |
| α6900 | 2026年内 |
| α7R VI | 2026年5月 |
富士フイルム
| カメラ | |
| X-H3 | 2027年 |
| X-T6 | 2026年後半 |
| X-Pro 新型機 | 2026年後半 |
| 1インチセンサーコンデジ | 2026年 |
| 1億画素のGFX | 2026年 |
OM SYSTEM
| カメラ | |
| PEN新製品 |
パナソニック
| カメラ | |
| 新レンズロードマップ公開 | |
| 新製品2台を認証登録 | 数カ月以内に登場か(2026年2月8日時点) |
| LUMIX S1H II | |
| LUMIX GX9後継 | |
| LX100III |
リコー・ペンタックス
| カメラ | |
| 一眼レフ |
シグマ
| レンズ | |
| f/1.2より明るい65mmレンズ | 2026年9月 |
| 15mm F1.4 DC DN | Contemporary | 2026年2月26日 |
| 35mm F1.4 DG II | ART |



コメント
コメント一覧 (1件)
どのカメラで このセンサーを採用するかでしょうね
今のところ 見当たらない気がするけど
R1Ⅲにでも搭載するのか?
2032年とかに
R1Ⅱで採用されるとは思えないけど