キヤノン 新レンズの特許
【0002】
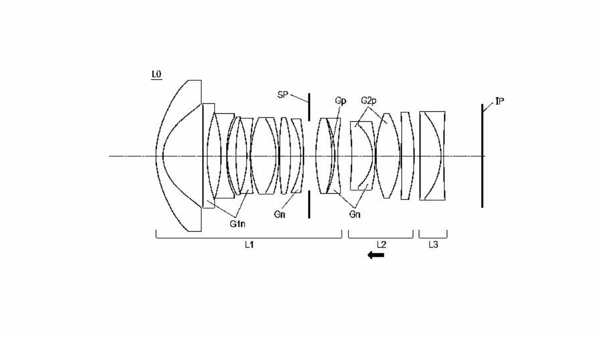
近年、固体撮像素子を用いた、デジタルスチルカメラやビデオカメラ等の撮像装置に用いられる光学系において、小型でありながら、より至近距離へのフォーカシングが可能な光学系が要求されている。特許文献1では、物体側から像側へ順に配置された、正の屈折力を有する第1レンズ群と、正の屈折力を有する第2レンズ群と、正の屈折力を有する第3レンズ群とからなり、フォーカシングに際して第2レンズ群が像面に対して移動する光学系が開示されている。
焦点距離 14.42
Fナンバー 1.46
半画角 52.34
像高 18.68
光学全長 118.50
BF 14.00
焦点距離 20.60
Fナンバー 1.46
半画角 42.54
像高 18.90
光学全長 117.50
BF 18.44
焦点距離 20.60
Fナンバー 1.85
半画角 42.64
像高 18.97
光学全長 98.50
BF 17.25
焦点距離 24.00
Fナンバー 1.50
半画角 38.29
像高 18.95
光学全長 113.00
BF 12.50
大口径広角単焦点レンズの特許
キヤノンが新レンズの特許を出願していることが明らかになりました。上記が主な実施例で、まとめると以下のようなレンズの特許ということになります。
- 14mm f/1.4
- 20mm f/1.4
- 20mm f/1.8
- 24mm f/1.4
どのような特徴のレンズなのか、その概要を見てみます(当サイトの解釈です)。
この特許で扱われているのは、主にデジタルカメラやビデオカメラ向けの交換レンズ、あるいは固定レンズとして使われることを想定した光学系だとされています。特徴として語られているのは、「レンズを小型に保ちながら、かなり近い距離までピントを合わせられる」という点です。最近のカメラでは、被写体にぐっと寄った撮影や、動画撮影中のスムーズなオートフォーカスが重視されることが多く、この特許もそうした流れを意識した内容だと受け取れます。
レンズの構成としては、いわゆる「インナーフォーカス」と呼ばれる方式で、ピントを合わせてもレンズ全体の長さが変わりにくく、動く部分が軽くなるため、フォーカスが速くて静かになりやすいと言われています。これは写真だけでなく、動画撮影との相性が良い構造となっているようです。
One Point!:インナーフォーカスって?
ピントを合わせるときに、レンズの内側だけが動く方式のことです。レンズの長さが変わらないから、バランスが崩れにくくて、フォーカスも速くて静か!
また、この特許では広角寄りのレンズを強く意識しているようで、前の方に特殊な配置のレンズを置くことで、ミラーレスカメラなどでも使いやすい設計になっていると説明されています。広角レンズは構造上、近くにピントを合わせるのが難しくなりがちですが、この特許では「広角でもしっかり寄れる」ことを大きな狙いにしているようです。実際、無限遠だけでなく、被写体にかなり近づいた状態でも画質を保てることが強調されています。
One Point!:「広角でも寄れる」って?
広角レンズは本来、近くにピントを合わせるのが苦手。でもこの特許では、ぐっと近づいてもピントが合って、しかも画質もキープできるよう工夫されてるんだって!
さらに興味深いのは、ピント位置を変えたときに画角や写りの雰囲気が大きく変わらないよう配慮されている点です。これは動画撮影で問題になりやすい「フォーカスブリージング」を抑えることにつながる考え方で、最近の動画向けレンズのトレンドと重なる部分だと感じます。特許文中では難しい言葉で説明されていますが、要するに「ピントを動かしても見た目が安定するレンズ」を目指している、ということのようです。
One Point!:フォーカスブリージングってなに?
ピントを動かしたときに、画角(写る範囲)が微妙に変わってしまう現象のことです。動画では“見た目がズームしたように見える”ので、できるだけ抑えたいポイント!
全体を通して見ると、この特許は派手なスペックを前面に出すというより、「使い勝手の良さ」や「撮影時のストレスの少なさ」を重視したレンズ設計に見えます。もし将来、この考え方を反映した製品が登場するとしたら、Vlogや動画撮影を中心に使う人や、広角で寄った表現を楽しみたい人にとって、注目したくなる存在になりそうですね。
なお、この特許を読み進めていくと、像高の設定が少し気になるポイントとして浮かび上がってきます。伝えられている数値から判断すると、一般的なAPS-C用レンズとしてはやや余裕がありすぎる一方で、フルサイズを完全にカバーするには少し足りない印象を受けます。そのため、APS-C用で大きめのイメージサークルになっているのか、それとも実際のイメージサークルはもっと大きくて表記されている像高は実効値である可能性も考えられそうです。
One Point!:像高って?
センサーに届く光の広がり(イメージサークル)の半径のことです。APS-Cやフルサイズなど、センサーサイズに合った像高が必要なんだよ!
キヤノン 関連情報アーカイブ !
特許関連 最新情報
現在噂されている新製品情報
ニコン
| カメラ | |
| Nikon Z8II | 2026年末までに |
| Nikon Z9II | 2026年~2027年 |
| Nikon Z90 | 2026年~2027年 |
| 新製品の認証登録 |
| レンズ | |
| 新シネマレンズラインナップ | |
| 120-300mm f/2.8 | 2026年末までに |
| 85mm f/1.4 |
キヤノン
| カメラ | |
| EOS R7 Mark II | 2026年 |
| EOS R3 Mark II | 2026年 |
| EOS R10 Mark II | 2026年内 |
| レトロデザインカメラ | 2026年 |
| PowerShotフラッグシップ | 2026年 |
| レンズ | |
| RF24-70mm F2.8 L後継 | 2026年内 |
| RF300-600mm | 2026年5月 |
| RF-S15-70mm F4 | まもなく登場か(2026年4月時点) |
| RF20-50mm F4 PZ | 2026年 |
| RF70-200mm F2.8 STM | 2026年 |
| RF400mm F2.8 L IS USM後継 | 2026年 |
| RF600mm F4 L IS USM後継 | 2026年 |
| RF150-600mm F5.6 L IS USM | 計画中? |
| フルサイズAFレンズをサードに解禁? | 2026年 |
ソニー
富士フイルム
| カメラ | |
| X-H3 | 2027年 |
| X-T6 | 2026年後半 |
| X-Pro 新型機 | 2026年後半 |
| 1インチセンサーコンデジ | 2026年 |
| 1億画素のGFX | 2026年 |
OM SYSTEM
| カメラ | |
| PEN新製品 |
パナソニック
| カメラ | |
| 新製品2台を認証登録 | 数カ月以内に登場か(2026年2月8日時点) |
| LUMIX S1H II | |
| LUMIX GX9後継 | |
| LX100III |
リコー・ペンタックス
| カメラ | |
| 一眼レフ |
シグマ
| レンズ | |
| 15mm F1.4 DC DN | Contemporary | 2026年2月26日 |
| 35mm F1.4 DG II | ART |


コメント
コメント一覧 (2件)
14mm F1.4 L VCMかと思いましたがVCMシリーズ共通の全長99.3mmより長いので違うか……
特許での全長は光学全長(前玉〜撮像面)なので、フランジバック(RFなら20mm)を引く必要があるかなと。
実施例2は7枚目の大きさ以外はRF20/1.4Lと同様で、フランジバック分を引くと97.50mmです。前枠や後端の保護部材の長さを考えれば、レンズ全長99.3mmとほぼ一致と言えます。
つまり、実施例1が後のRF14/1.4Lという可能性はあり得ると思います。